
6AKP506/WH
6AKP506/WH
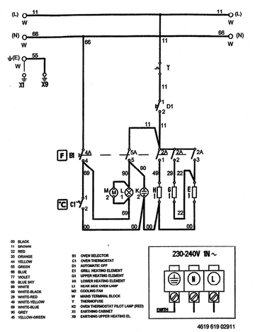
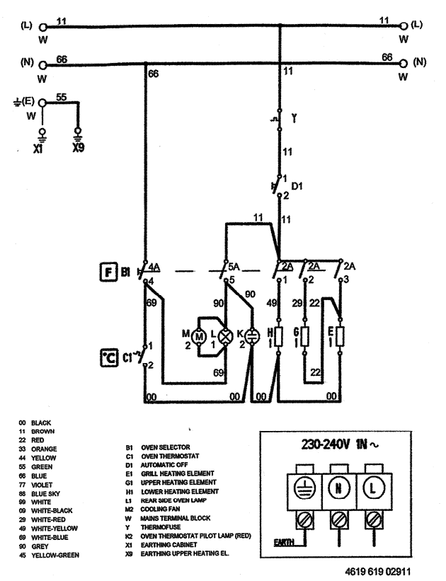
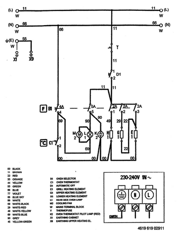
Wiring Diagram

Technical Data
Electrical Connection
Rated Voltage | 230 - 240 V ~, 50 | Hz |
Main connection | Single Phase and neutral |
Electrical Components
Auto Timer | Automatic-off (53.120.9.534.08) |
Electrical Components
Auto timer | Electronic timer |
Accessories
Fat pan enamelled | 415 x 318 | mm |
Grid chrome | 446.5 x 340 | mm |