
6AKP512WH
6AKP512WH
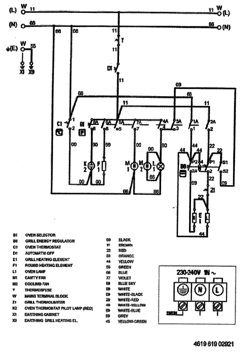
Wiring Diagram

Technical Data
Electrical Connection
Connection | Single phase and neutral |
---|---|
Rated voltage | 230-240 V~ |
Rated Power (Maximum) | 2400 W |
Dual grill left | 1400 W |
Dual grill right | 900 W |
Dual grill total | 2300 W |
Forced air | 2000 W |
Cooling fan motor | 22 W |
Oven circulating fan motor | 40 W |
Oven light | 25 W |
Electrical Components
Auto timer | Minute minder |
---|
Accessories
Pan set enameled | 415 x 318 mm |
---|---|
Grid chrome | 446.5 x 340 mm |