
6AKP603/WH
6AKP603/WH
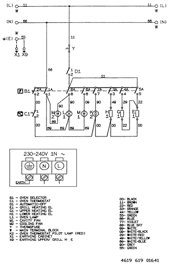
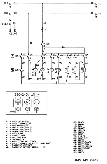
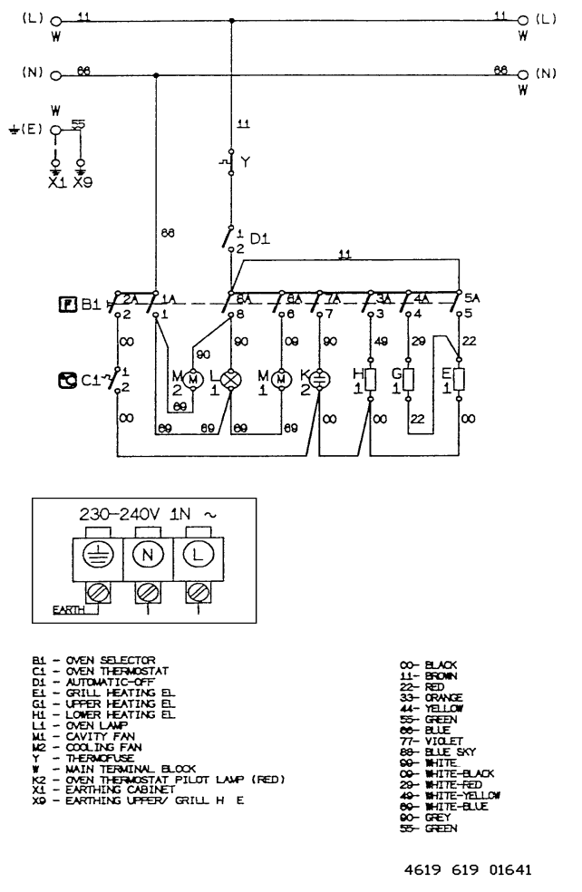
Wiring Diagram

Technical Data
Electrical Connection
Rated Voltage | 240 V ~ | V |
Main Connection | 400 V 3N~ 50 | Hz |
Power Usable Contemporaneously | 2500 | W |
Upper Heating Element | 900 | W |
Lower Heating Element | 1000 | W |
Forced Air | - | |
Grill Heating Element | 2450 | W |
Electrical Components
Auto Timer | 53.120.9.534.08 |
Hob Control | - |
Accessories
Baking Tray | - | |
Pan Set Enameled | 415 x 318 | mm |
Grid Chrome | 446.5 x 340 | mm |