
6AKP613/IX/01
6AKP613/IX/01
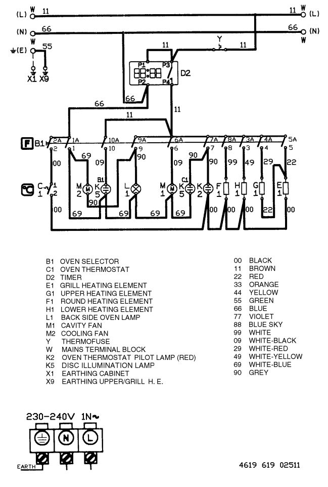
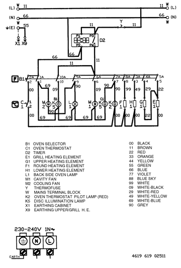
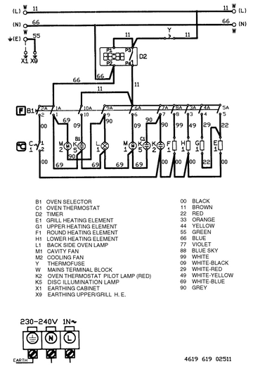
Wiring Diagram

Technical Data
Electrical Connection
Rated Voltage | 230-240 ~ 50 | Hz |
Main connection | 230-240 1N~ | V |
Power usable contemporaneously | 2500 | W |
Forced air | 2000 | W |
Upper heating element | 900 | W |
Lower heating element | 1000 | W |
Grill heating element | 2450 | W |
Electrical Components
Auto timer | Polino |
Accessories
Pan set enamelled | 415 x 318 | mm |
Grid chrome | 446.5 x 340 | mm |