
6AKP614/IX/01
6AKP614/IX/01
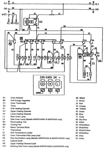
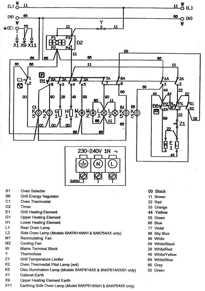
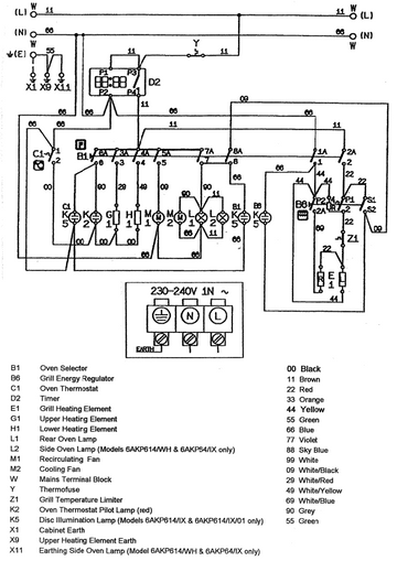
Wiring Diagram

Technical Data
Electrical Connection
Rated voltage | 230 - 240 | Volts AC |
Main connection | Single Phase and Neutral | |
Maximum rated power | 2550 | Watts |
Upper heating element | 900 | Watts |
Lower heating element | 1000 | Watts |
Grill heating element left | 1350 | Watts |
Grill heating element right | 1100 | Watts |
Electrical Components
Electronic timer type | DAC 88 C 0018 |
Accessories
Pan set enameled | 415.5 x 318.5 x 40.5 | mm |
Griller grid - chrome | 377 x 262 x 64 | mm |
Oven shelf | 446.5 x 340 | mm |