
6AKP625/WH/01
6AKP625/WH/01
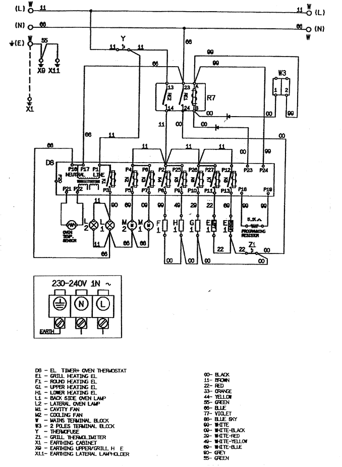
Wiring Diagram

Technical Data
Electrical Connection
Connection | Single phase and neutral | |
Rated Voltage | 230 - 240 | Volts |
Rated Frequency | 50 | Hz |
Rated Power (Maximum) | 3550 | Watts |
Elements - Top Oven
Griller - Left | 1350 | Watts |
Griller - Right | 1100 | Watts |
Oven Top | 900 | Watts |
Under Oven | 1000 | Watts |
Fan forced air | 2000 | Watts |
Preheat boost | 3440 | Watts |
Electrical Components
Timer/control | Digital electronic |
Accessories
Griller Pan | 415.5 x 318.5 x 40.5 | mm |
Griller Grid - Chrome | 377 x 262 x 64 | mm |
Oven Shelf | 446.5 x 340 | mm |