
AKP 308/WH
AKP 308/WH
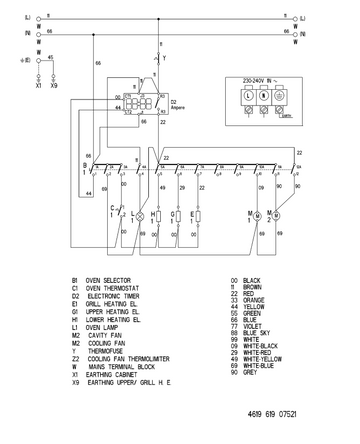
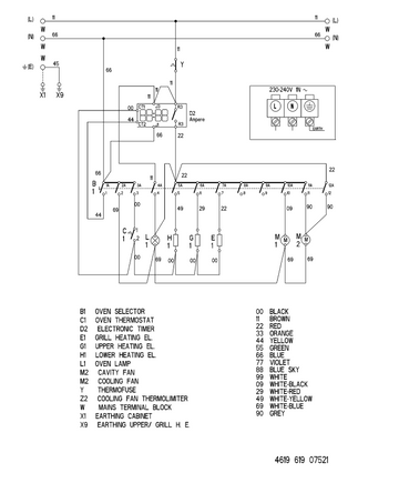
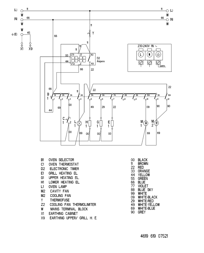
Wiring Diagram

Technical Data
Electrical Base Data
Rated Voltage | 230 - 240 | V |
Main Connection | 230 - 240 1N ~ 50 | V |
Power Consumption
Total Connected Load | 2400 | W |
Upper Heating Element/Grill | 900/2500 | W |
Lower Heating Element | 1150 | W |
Electrical Components
Auto Timer | Ampere |
Accessories
Grid Chrome | 446.5 x 340 | mm |
Pan Set Enameled | 415 x 318 | mm |